


業界初となるステンレス製の接栓受を独自に開発しました。従来品に比べ、大幅に高寿命化を実現。また、内部では端子でカシメられるようにメンテナンス性を大幅向上しました。ステンレス化によって、ネジ部の腐食が大幅に低減、耐久性が向上しました。

軌道短絡事故を防ぎます。タイタンパをはじめとする鉄道保線機器は、アース間で左右のレールが接触してしまった場合、短絡事故を発生させてしまいます。そのため、逆流防止素子を内蔵させ、鉄道保線器間の短絡事故を防止致します。

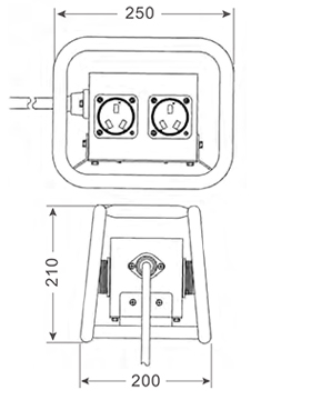
バラストから、コンセントを協力に保護します。傷みの激しいコンセントのネジ部を保護することにより、コンセントの付替え修理の頻度が大幅に低減し、ランニングコストが削減できます。また、コンセントボックスをパイプフレーム内で、地面から浮かせた設計により、雨天時の浸水からも保護。

| 型式 | TT4P |
|---|---|
| 接栓受数 | 4 |
| ケーブル長さ(m) | 3 |
| 定格電流(A) | 15 |
| 定格電圧(V) | 3相交流 200〜220 |
| 保護等級 | IP20 準拠 |
| 周囲温度 | −30°〜40° |
| 環境 | 屋内外兼用 |
| 重量(kg) | 2.6 |

| 型式 | TT4S | TT2S | TT2S100 |
|---|---|---|---|
| 接栓受数 | 4 | 2 | 2 |
| ケーブル長さ(m) | 3 | 3 | 100 |
| 定格電流(A) | 15 | ||
| 定格電圧(V) | 3相交流 200〜220 | ||
| 保護等級 | IP20準拠 | ||
| 周囲温度 | −30°〜40° | ||
| 環境 | 屋内外兼用 | ||



















